L94WD羅茨風機圖紙詳細說明與資料分享!免費下載!
L94WD羅茨風機是二葉羅茨風機,近日,有客戶咨詢該型號羅茨風機,對于L系列羅茨風機,華東風機完全有能力進行生產,并且有多位客戶案例。
該羅茨風機的具體參數如下:
流量:369m³/min
壓力:19.6KPA
電機功率:8P-185KW 380V
轉速:750rpm
主機靜荷載:7000kg
主機動荷載:10500kg
注意:二葉羅茨風機包括:L系列羅茨風機,均采用直聯傳動,并且,此類大型號羅茨風機,在安裝時,直接固定于地面上,沒有共用底座,與三葉羅茨風機區別還是不少的。
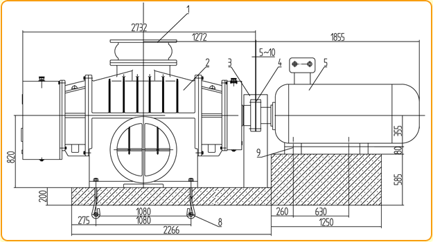
下圖為L94WD正視圖:

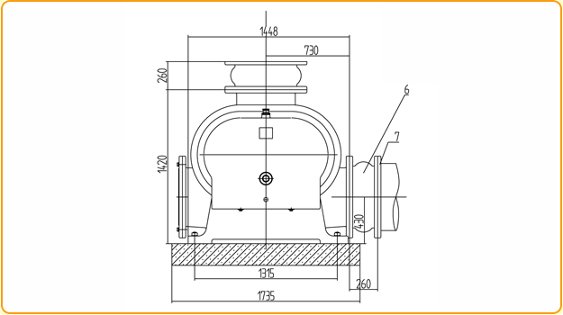
下圖為L94WD左視圖:

這里還有一份詳細原版的L94WD的圖紙,格式為PDF格式,下載請移步:L94WD羅茨風機圖紙
此文關鍵字:L94WD羅茨風機
最新產品
同類文章排行
- l81wd羅茨鼓風機參數這里Q有,速度S藏吧~
- L94WD羅茨風機圖紙詳細說明與資料分享!免費下載!
- L106羅茨鼓風機參數詳情匯總!華東風機
- L系列羅茨風機參數L105B參數大全,詳細數據看這里!
- 二葉羅茨鼓風機參數L105A參數匯總-華東風機
- 環hbo行業L104二葉羅茨鼓風機參數大匯總(文字版)
- L系列羅茨鼓風機參數之L103b二葉羅茨風機(文字版)
- L103a二葉羅茨鼓風機型號參數匯總(文字版)華東羅茨式風機廠家
- L102大型號二葉羅茨鼓風機參數匯總(文字版)
- l95型二葉真空泵參數型號價格(文字版)匯總
最新資訊文章
您的瀏覽歷史







