
下載鏈接:點擊這里 密碼:ghgl
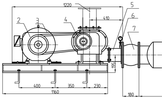
三葉羅茨鼓風機圖紙分享,HDSR150BT型號,由華東風機出品,僅適用于華東風機同型號產品,如有其他型號圖紙需求,請聯系我們的官方在線客服4008-797-786
推薦閱讀:三葉羅茨鼓風機產品列表
2018年06月06日13:48 章丘三葉羅茨鼓風機

下載鏈接:點擊這里 密碼:ghgl
三葉羅茨鼓風機圖紙分享,HDSR150BT型號,由華東風機出品,僅適用于華東風機同型號產品,如有其他型號圖紙需求,請聯系我們的官方在線客服4008-797-786
推薦閱讀:三葉羅茨鼓風機產品列表
污水處理廠必看:羅茨風機曝氣系統節能改造的5個黃金法則羅茨風機工作原理全解|三維動畫拆解+工程應用實例剖析水冷羅茨風機的五大核心優勢解析|工業節能領域首選設備羅茨風機日常保養黃金法則:18個關鍵操作延長3倍使用壽命鑫華東三葉羅茨風機|全球工業領域的節能標桿設備(附選型計算表)